© 2012-2024.  ООО «ГазМеталлоКомплект».  г. Таганрог.  Все права защищены.  Использование материалов сайта без согласования запрещено.

ЭЛЕМЕНТЫ ТЕПЛОВЫХ УЗЛОВ РОСТА

МОНОКРИСТАЛЛОВ

Для роста монокристаллов кремния, сапфира, карбида кремния нужны высокие температуры. 1450⁰С, 2200-2350⁰С, 2450 – 2500⁰С. Не многие материалы в теплоизоляции и конструктивные элементы могут справиться с такими температурами. Наши материалы и изделия из них позволят Вам управлять уверенным ростом вышеперечисленных Монокристаллов.
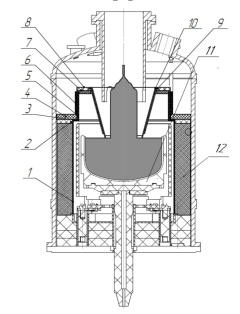
Для роста монокристаллов кремния по методу Чохральского ООО «ГМК» серийно выпускает следующие элементы тепловых узлов: • позиции 1,5,6 – вертикальные экраны; • позиции 2,3,4,7,8 – горизонтальные экраны; • позиция 9,10 – внутренний и внешний рефлектор протока инертных газов; • позиции 11 – обечайка под кварцевый тигель; • позиции 12 – вертикальная теплоизоляция.
БОКОВЫЕ И ГОРИЗОНТАЛЬНЫЕ ЭКРАНЫ
РЕФЛЕКТОРЫ СФЕРИЧЕСКИЕ ОБЕЧАЙКИ ПОД КВАРЦЕВЫЕ ТИГЛИ

области применения

ОБЛАСТИ ПРИМЕНЕНИЯ Россия, г. Таганрог улица Менделеева, 117 +7 909 421 41 23 gmk.taganrog@yandex.ru eng
ВМЕСТЕ В БУДУЩЕЕ
Для роста монокристаллов кремния по методу Чохральского ООО «ГМК» серийно выпускает следующие элементы тепловых узлов: • позиции 1,5,6 – вертикальные экраны; • позиции 2,3,4,7,8 – горизонтальные экраны; • позиция 9,10 – внутренний и внешний рефлектор протока инертных газов; • позиции 11 – обечайка под кварцевый тигель; • позиции 12 – вертикальная теплоизоляция.
БОКОВЫЕ И ГОРИЗОНТАЛЬНЫЕ ЭКРАНЫ
РЕФЛЕКТОРЫ СФЕРИЧЕСКИЕ ОБЕЧАЙКИ ПОД КВАРЦЕВЫЕ ТИГЛИ
© 2012-2024.  ООО «ГазМеталлоКомплект».  г. Таганрог.  Все права защищены. Использование материалов сайта без согласования запрещено.

ЭЛЕМЕНТЫ ТЕПЛОВЫХ УЗЛОВ РОСТА

МОНОКРИСТАЛЛОВ

Для роста монокристаллов кремния, сапфира, карбида кремния нужны высокие температуры. 1450⁰С, 2200-2350⁰С, 2450 – 2500⁰С. Не многие материалы в теплоизоляции и конструктивные элементы могут справиться с такими температурами. Наши материалы и изделия из них позволят Вам управлять уверенным ростом вышеперечисленных Монокристаллов.
Россия, г. Таганрог, улица Менделеева, 117 +7 909 421 41 23 gmk.taganrog@yandex.ru eng
ВМЕСТЕ В БУДУЩЕЕ